目录
新增审核
新增审核
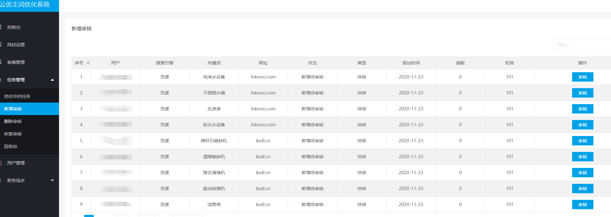
# 新增审核 管理员需要对用户提交的关键词进行审核 
上一篇 优化中的任务
nextDoc 删除审核
请输入关键字进行搜索